Mexen Helios Elektroheizkörper 800 x 500 mm, 300 W, Gold - W103-0800-500-2300-50

Black Week DE

Black Week DE

Mexen Helios Elektroheizkörper 800 x 500 mm, 300 W, Gold - W103-0800-500-2300-50

  • Mexen in Black
Mexen Helios Elektroheizkörper 800 x 500 mm, 300 W, Gold - W103-0800-500-2300-50
search
  • Mexen Helios Elektroheizkörper 800 x 500 mm, 300 W, Gold - W103-0800-500-2300-50
  • Mexen Helios Elektroheizkörper 800 x 500 mm, 300 W, Gold - W103-0800-500-2300-50
  • Mexen Helios Elektroheizkörper 800 x 500 mm, 300 W, Gold - W103-0800-500-2300-50
  • Mexen Helios Elektroheizkörper 800 x 500 mm, 300 W, Gold - W103-0800-500-2300-50
  • Mexen Helios Elektroheizkörper 800 x 500 mm, 300 W, Gold - W103-0800-500-2300-50
  • Mexen Helios Elektroheizkörper 800 x 500 mm, 300 W, Gold - W103-0800-500-2300-50
  • Mexen Helios Elektroheizkörper 800 x 500 mm, 300 W, Gold - W103-0800-500-2300-50
  • Mexen Helios Elektroheizkörper 800 x 500 mm, 300 W, Gold - W103-0800-500-2300-50
Mexen Helios Elektroheizkörper 800 x 500 mm, 300 W, Gold - W103-0800-500-2300-50
Mexen Helios Elektroheizkörper 800 x 500 mm, 300 W, Gold - W103-0800-500-2300-50 Mexen Helios Elektroheizkörper 800 x 500 mm, 300 W, Gold - W103-0800-500-2300-50 Mexen Helios Elektroheizkörper 800 x 500 mm, 300 W, Gold - W103-0800-500-2300-50 Mexen Helios Elektroheizkörper 800 x 500 mm, 300 W, Gold - W103-0800-500-2300-50 Mexen Helios Elektroheizkörper 800 x 500 mm, 300 W, Gold - W103-0800-500-2300-50 Mexen Helios Elektroheizkörper 800 x 500 mm, 300 W, Gold - W103-0800-500-2300-50 Mexen Helios Elektroheizkörper 800 x 500 mm, 300 W, Gold - W103-0800-500-2300-50 Mexen Helios Elektroheizkörper 800 x 500 mm, 300 W, Gold - W103-0800-500-2300-50
Heizleistung: 300 W Heizleistung: 300 W
Stahl Stahl
Thermostat Thermostat
Marke:
Seria:
Ean:
5905315234155
Index:
W103-0800-500-2300-50
Farbe:
Gold
Breite:
500 mm
Höhe:
800 mm
Heizleistung:
300 W
Breite - 500 mm - ()
Farbe - Gold - ()

Mexen Helios Elektroheizkörper 800 x 500 mm, 300 W, Gold - W103-0800-500-2300-50

Technische Daten:

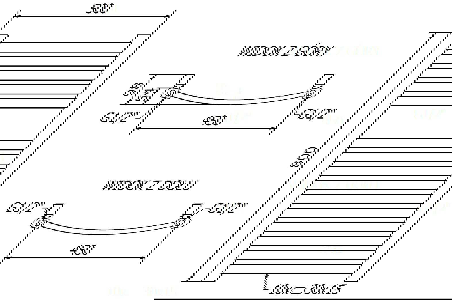
Höhe: 800 mm

Breite: 500 mm

Tiefe: 54 mm

Farbe: Gold

Material: Stahl

Heizleistung: 300 W

Anzahl der Heizstäbe: 15

Gesamtlänge des Heizelements: 426 mm

Länge des Heizelements: 310 mm

Netzkabellänge: 1,5 m

Betriebsspannung: 230V/50 Hz

Schutzart: IP44

Touchsteuerung über LED-Anzeige

Zusätzlicher Schutz gegen "Trockenlauf"

Integriertes Thermostat hält die gewünschte Temperatur des Heizkörpers

Hochwertige, langlebige Lackbeschichtung, korrosionsbeständig

Der Heizkörper benötigt zur ordnungsgemäßen Funktion Wasser oder ein Wasser-Glykol-Gemisch als Füllung

Im Lieferumfang: Aufhängungen, Montageset und Verschlussstopfen

Funktionen des Heizkörpers:

- Sensitive ermöglicht das Einstellen der Temperatur im Bereich von 40°C-65°C

- Comfort verfügt über eine Trocknungsoption, die das Einstellen der Heiztemperatur in einer ausgewählten Stundenrate ermöglicht

- Kindersicherung erlaubt das Sperren des Heizelementreglers

Innovative Lösungen, die in diesem Produkt verwendet werden

Heizleistung: 300 W

Bei der Auswahl eines elektrischen Heizstabes mit einer Leistung von 300 W ist es wichtig, ihn an die Effizienz des Heizkörpers anzupassen, damit die Beheizung des Raumes effektiv, ergonomisch und sicher ist.

Stahl

Das Produkt wurde aus hochwertigem kohlenstoffarmen Stahl hergestellt, der nicht nur die lange Lebensdauer des Geräts und die Korrosionsbeständigkeit beeinflusst, sondern auch eine schnelle Erwärmung des Raums ermöglicht und den Benutzern thermischen Komfort bietet.

Thermostat

Ein Thermostat erfüllt eine sehr wichtige Funktion, da es die Aufrechterhaltung einer konstanten, gewünschten Raumtemperatur ermöglicht. Dank des Thermostats schaltet sich der Heizkörper automatisch ein und aus, um die eingestellte Temperatur zu halten, was thermischen Komfort und Energieeinsparungen gewährleistet.

Sensitive

Die Option Sensitive bietet die Möglichkeit einer präzisen Temperaturregelung. Ein solches System ermöglicht es dem Benutzer, die Temperatur an seine individuellen Bedürfnisse und Vorlieben anzupassen, was zu größerer Flexibilität und Komfort bei der Nutzung führt.

Komfort

Die Komfortoption ist eine Funktion, mit der die Heiztemperatur in einem ausgewählten Stundenmaßstab eingestellt werden kann, was besonders nützlich ist, wenn Gegenstände wie Handtücher oder Räume getrocknet werden müssen.

Elterliche Sperre

Die angeborene Neugier der Kinder erfordert Kontrolle, sogar im Badezimmer. Wenn wir also Kinder haben und planen, ein elektrisches Heizgerät zu kaufen, lohnt es sich, eines zu wählen, das die Möglichkeit bietet, den Regler zu sperren, also die Änderung der Parameter während des Betriebs.

Trockenschutz

Das Heizelement verfügt über einen zusätzlichen Schutz gegen den Betrieb "im Trockenen". Ein unsachgemäßes Einschalten vor dem Befüllen der Heizungsanlage mit Wasser führt zu einer Beschädigung, auch wenn wir nur überprüfen möchten, ob sie ordnungsgemäß funktioniert.

Ganzjähriger Wärmekomfort

Dies ist eine großartige Lösung, besonders in den Übergangszeiten wie Frühling und Herbst. Einerseits ist es nicht kalt genug, um die ganze Wohnung zu heizen, andererseits möchten wir einige Räume etwas erwärmen.

230V Anschluss

Ein elektrischer Heizstab für den direkten Anschluss an eine 230V-Steckdose ist eine äußerst praktische Lösung, die eine schnelle und einfache Nutzung ohne zusätzliche Kabel oder spezielle Geräte ermöglicht.

Schutzart: IP44

Das Gehäuse des Thermostats ist in der Schutzklasse IP44 ausgeführt, die die Beständigkeit gegen das Eindringen von Feuchtigkeit in das Innere des Geräts bestimmt, was sich nicht nur auf die Sicherheit, sondern auch auf die Haltbarkeit der Komponenten auswirkt.

Spiral Kabel mit einer Länge von 1,5 m

Das lange, 1,5 Meter lange Kabel in Spiralform ist eine praktische Lösung, die Funktionalität mit Ästhetik verbindet. Daher ist das Produkt die ideale Lösung für Räume, in denen wir auf jedes Detail und Ordnung achten.

Beständigkeit gegen Anlaufen und Korrosion

Produkt aus hochwertigen Materialien, die beständig gegen Anlaufen und Korrosion sind, wodurch es sein attraktives Aussehen und seine Funktionalität über lange Zeit erhält, unabhängig vom Feuchtigkeitsgrad im Raum.

10 Jahre Garantie

Der Heizkörper hat eine 10-jährige Garantie. Bei Problemen mit dem gekauften Produkt empfehlen wir, über das Kontaktformular oder telefonisch über die Hotline-Nummer Kontakt aufzunehmen.

2 Jahre Garantie

Der elektrische Heizstab ist durch eine 2-jährige Garantie abgedeckt. Bei Problemen mit dem gekauften Produkt empfehlen wir den Kontakt über das Kontaktformular oder telefonisch über die Hotline aufzunehmen.

Serie
Breite
500 mm
Höhe
800 mm
Art
Elektrisch
Heizleistung
300 W
Farbe
Gold
Material
Stahl
Montage
Wand
Montagestärke
Universell
Tiefe
54 mm
Ausrichtung
Vertikal
Garantiebedingungen - Heizkörper
Garantiebedingungen - elektrische Heizung
Hersteller

Haben Sie die Antwort nicht gefunden?

Schreibe an uns

Mexen Helios Elektroheizkörper 800 x 500 mm, 300 W, Gold - W103-0800-500-2300-50

Mexen Helios Elektroheizkörper 800 x 500 mm, 300 W, Gold - W103-0800-500-2300-50

Katalogpreis: 325,80 €

260,69 € (inkl. MwSt.)

Billiger von 65,11 €

19,98%

Niedrigster Preis aus den letzten 30 Tagen: 260,69 €

Heizleistung: 300 W Heizleistung: 300 W
Stahl Stahl
Thermostat Thermostat
Marke:
Seria:
Ean:
5905315234155
Index:
W103-0800-500-2300-50
Farbe:
Gold
Breite:
500 mm
Höhe:
800 mm
Heizleistung:
300 W
Breite - 500 mm - ()
Farbe - Gold - ()
Laden...