Mexen Orio Front für den Korpus des Badezimmerschranks 40 x 43,5 cm, schwarz glänzend - 91A11-0400-470-1-70
^ array:2 [
  "external" => array:1 [
    "adyen-component-js" => array:7 [
      "id" => "adyen-component-js"
      "type" => "external"
      "path" => "https://mexen.at"
      "uri" => "https://mexen.at"
      "priority" => 50
      "attribute" => ""
      "server" => "remote"
    ]
  ]
  "inline" => []
]

Mexen Orio Front für den Korpus des Badezimmerschranks 40 x 43,5 cm, schwarz glänzend - 91A11-0400-470-1-70

Mexen Orio Front für den Korpus des Badezimmerschranks 40 x 43,5 cm, schwarz glänzend - 91A11-0400-470-1-70
search
  • Mexen Orio Front für den Korpus des Badezimmerschranks 40 x 43,5 cm, schwarz glänzend - 91A11-0400-470-1-70
  • Mexen Orio Front für den Korpus des Badezimmerschranks 40 x 43,5 cm, schwarz glänzend - 91A11-0400-470-1-70
Mexen Orio Front für den Korpus des Badezimmerschranks 40 x 43,5 cm, schwarz glänzend - 91A11-0400-470-1-70
Mexen Orio Front für den Korpus des Badezimmerschranks 40 x 43,5 cm, schwarz glänzend - 91A11-0400-470-1-70 Mexen Orio Front für den Korpus des Badezimmerschranks 40 x 43,5 cm, schwarz glänzend - 91A11-0400-470-1-70
Hohe Verarbeitungsqualität Hohe Verarbeitungsqualität
Hochwertige Lackierung Hochwertige Lackierung
Modulare Lösungen Modulare Lösungen
Marke:
Seria:
Ean:
5905315943644
Index:
91A11-0400-470-1-70
Längere Seite:
40 cm
Kürzere Seite:
43,5 cm
Farbe:
Schwarz glanz
Montage:
Drzwi

Mexen Orio Front für den Korpus des Badezimmerschranks 40 x 43,5 cm, schwarz glänzend - 91A11-0400-470-1-70

Produktspezifikation:

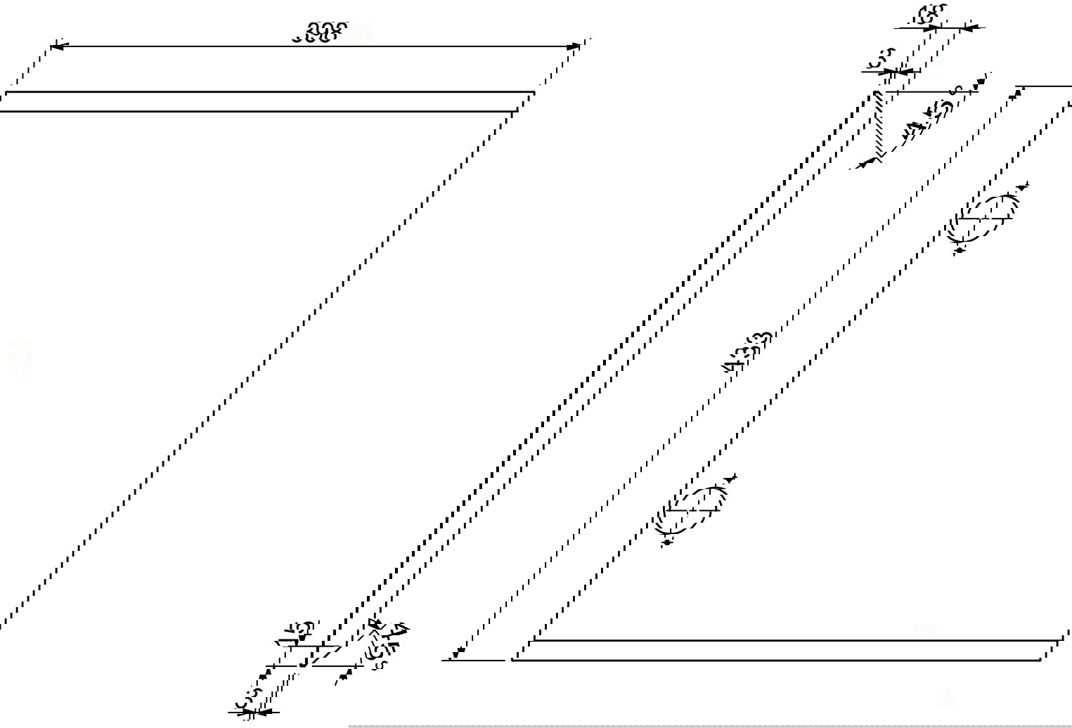
Breite: 40 cm

Höhe: 43,5 cm

Dicke: 1,8 cm

Farbe: Schwarz glänzend

Montage: Tür

Struktur der Front: Glatt

Material: Lackierte MDF-Platte

Oberfläche UV-beständig

Zur Komplettierung mit dem Korpus des Badezimmerschranks der Serie Box-A

Innovative Lösungen, die in diesem Produkt verwendet werden

Hohe Verarbeitungsqualität

Dank der Verwendung robuster Materialien, präziser Verarbeitung und moderner technologischer Lösungen ist das Produkt komfortabel in der Anwendung, beständig gegen Feuchtigkeit und Temperaturschwankungen und hat ein elegantes Aussehen, das zu verschiedenen Badstilen passt.

Hochwertige Lackierung

Eine Arbeitsplatte mit einer hochwertigen Lackierung ist die perfekte Wahl für das Badezimmer, da sie ein elegantes Aussehen bietet und sehr widerstandsfähig gegen Feuchtigkeit und Kratzer ist. Der hochwertige Lack schützt die Oberfläche der Arbeitsplatte und sorgt für eine lange Lebensdauer, Ästhetik und einfache Pflege.

Modulare Lösungen

Unsere modularen Badezimmermöbel können in verschiedenen Farbkonfigurationen kombiniert werden, sodass eine vollständige Anpassung möglich ist. Sie können sowohl das Aussehen als auch die Funktionen einzelner Elemente auswählen und die Möbel so an Ihre eigenen stilistischen und funktionalen Vorlieben anpassen.

PerfectClean

Das Produkt hat eine glatte Oberfläche, die mit seiner Pracht beeindruckt und das ästhetische Erscheinungsbild betont. Die tägliche Pflege und Reinigung von Oberflächen aus dem resultierenden Schmutz ist viel einfacher und erfordert nicht die Verwendung starker Reinigungsmittel.

UV-Schutz

Das Produkt ist durch einen hohen Widerstand gegen Temperaturänderungen und UV -Strahlung gekennzeichnet. Die Farbe verfärbt sich nicht und verblasst nicht unter dem Einfluss des Sonnenlichts, dank dessen Erscheinung für lange Zeit, unabhängig von den Bedingungen.

2 Jahre Garantie

Das Produkt ist von einer 2-jährigen Garantie abgedeckt. Bei Problemen mit dem gekauften Produkt empfehlen wir Ihnen, uns über das Kontaktformular oder telefonisch an die Hotline -Nummer zu kontaktieren.

Serie
Längere Seite
40 cm
Kürzere Seite
43,5 cm
Dicke
1,8 cm
Farbe
Schwarz glanz
Montage
Drzwi
Struktur der Vorderseite
Gładka
Bedienungsanleitung
Sicherheitsinformationen
Garantiebedingungen
Hersteller

Haben Sie die Antwort nicht gefunden?

Schreibe an uns

Mexen Orio Front für den Korpus des Badezimmerschranks 40 x 43,5 cm, schwarz glänzend - 91A11-0400-470-1-70

Mexen Orio Front für den Korpus des Badezimmerschranks 40 x 43,5 cm, schwarz glänzend - 91A11-0400-470-1-70

Katalogpreis: 45,30 €

36,29 € (inkl. MwSt.)

Billiger von9,01 €

19,89%

Hohe Verarbeitungsqualität Hohe Verarbeitungsqualität
Hochwertige Lackierung Hochwertige Lackierung
Modulare Lösungen Modulare Lösungen
Marke:
Seria:
Ean:
5905315943644
Index:
91A11-0400-470-1-70
Längere Seite:
40 cm
Kürzere Seite:
43,5 cm
Farbe:
Schwarz glanz
Montage:
Drzwi
^ array:2 [
  "external" => array:57 [
    "corejs" => array:7 [
      "id" => "corejs"
      "type" => "external"
      "path" => "https://mexen.at/themes/core.js"
      "uri" => "https://mexen.at/themes/core.js"
      "priority" => 0
      "attribute" => ""
      "server" => "remote"
    ]
    "theme-runtime" => array:7 [
      "id" => "theme-runtime"
      "type" => "external"
      "path" => "https://mexen.at"
      "uri" => "https://mexen.at"
      "priority" => 1
      "attribute" => ""
      "server" => "remote"
    ]
    "theme-swipervendor" => array:7 [
      "id" => "theme-swipervendor"
      "type" => "external"
      "path" => "https://mexen.at/themes/falcon/assets/js/swipervendor.js"
      "uri" => "https://mexen.at/themes/falcon/assets/js/swipervendor.js"
      "priority" => 1
      "attribute" => ""
      "server" => "remote"
    ]
    "modules-pdpinterestpixeltracking-front" => array:7 [
      "id" => "modules-pdpinterestpixeltracking-front"
      "type" => "external"
      "path" => "https://mexen.at/themes/falcon/modules/pdpinterestpixeltracking/views/js/scripts_17.js"
      "uri" => "https://mexen.at/themes/falcon/modules/pdpinterestpixeltracking/views/js/scripts_17.js"
      "priority" => 1
      "attribute" => ""
      "server" => "remote"
    ]
    "jquery-ui" => array:7 [
      "id" => "jquery-ui"
      "type" => "external"
      "path" => "https://mexen.at/js/jquery/ui/jquery-ui.min.js"
      "uri" => "https://mexen.at/js/jquery/ui/jquery-ui.min.js"
      "priority" => 49
      "attribute" => ""
      "server" => "remote"
    ]
    "theme-main" => array:7 [
      "id" => "theme-main"
      "type" => "external"
      "path" => "https://mexen.at/themes/falcon/assets/js/theme.js"
      "uri" => "https://mexen.at/themes/falcon/assets/js/theme.js"
      "priority" => 50
      "attribute" => ""
      "server" => "remote"
    ]
    "front-js" => array:7 [
      "id" => "front-js"
      "type" => "external"
      "path" => "https://mexen.at/modules/blockreassurance/views/dist/front.js"
      "uri" => "https://mexen.at/modules/blockreassurance/views/dist/front.js"
      "priority" => 50
      "attribute" => ""
      "server" => "remote"
    ]
    "modules-psemailsubscription" => array:7 [
      "id" => "modules-psemailsubscription"
      "type" => "external"
      "path" => "https://mexen.at/modules/ps_emailsubscription/views/js/ps_emailsubscription.js"
      "uri" => "https://mexen.at/modules/ps_emailsubscription/views/js/ps_emailsubscription.js"
      "priority" => 50
      "attribute" => ""
      "server" => "remote"
    ]
    "mailalerts-js" => array:7 [
      "id" => "mailalerts-js"
      "type" => "external"
      "path" => "https://mexen.at/themes/falcon/modules/ps_emailalerts/js/mailalerts.js"
      "uri" => "https://mexen.at/themes/falcon/modules/ps_emailalerts/js/mailalerts.js"
      "priority" => 50
      "attribute" => ""
      "server" => "remote"
    ]
    "p24-script-inside" => array:7 [
      "id" => "p24-script-inside"
      "type" => "external"
      "path" => "https://mexen.at/modules/przelewy24/views/js/p24_inside.js"
      "uri" => "https://mexen.at/modules/przelewy24/views/js/p24_inside.js"
      "priority" => 50
      "attribute" => ""
      "server" => "remote"
    ]
    "p24-script-common" => array:7 [
      "id" => "p24-script-common"
      "type" => "external"
      "path" => "https://mexen.at/modules/przelewy24/views/js/przelewy24Common.js"
      "uri" => "https://mexen.at/modules/przelewy24/views/js/przelewy24Common.js"
      "priority" => 50
      "attribute" => ""
      "server" => "remote"
    ]
    "payu-js" => array:7 [
      "id" => "payu-js"
      "type" => "external"
      "path" => "https://mexen.at/modules/payu/js/payu17.js"
      "uri" => "https://mexen.at/modules/payu/js/payu17.js"
      "priority" => 50
      "attribute" => ""
      "server" => "remote"
    ]
    "ec5e2d2f4a58ac906d2c99a7aba2c512de86bd87" => array:7 [
      "id" => "ec5e2d2f4a58ac906d2c99a7aba2c512de86bd87"
      "type" => "external"
      "path" => "https://mexen.at/modules/facebookconversiontrackingplus/views/js/events.js"
      "uri" => "https://mexen.at/modules/facebookconversiontrackingplus/views/js/events.js"
      "priority" => 80
      "attribute" => ""
      "server" => "remote"
    ]
    "af58fb7945b30a5fc4dab0e3f308d9d946b57734" => array:7 [
      "id" => "af58fb7945b30a5fc4dab0e3f308d9d946b57734"
      "type" => "external"
      "path" => "https://mexen.at/modules/adyenofficial/views/js/front/adyen-product-express-checkout.js"
      "uri" => "https://mexen.at/modules/adyenofficial/views/js/front/adyen-product-express-checkout.js"
      "priority" => 80
      "attribute" => ""
      "server" => "remote"
    ]
    "40324f6bd2b2c27fcddaf455ddbd4fbe0eace026" => array:7 [
      "id" => "40324f6bd2b2c27fcddaf455ddbd4fbe0eace026"
      "type" => "external"
      "path" => "https://mexen.at/modules/adyenofficial/views/js/front/adyen-wallets-service.js"
      "uri" => "https://mexen.at/modules/adyenofficial/views/js/front/adyen-wallets-service.js"
      "priority" => 80
      "attribute" => ""
      "server" => "remote"
    ]
    "e63d14d12ea508a62c173717a73b09391f4a7c2a" => array:7 [
      "id" => "e63d14d12ea508a62c173717a73b09391f4a7c2a"
      "type" => "external"
      "path" => "https://mexen.at/modules/adyenofficial/views/js/front/adyen-checkout-controller.js"
      "uri" => "https://mexen.at/modules/adyenofficial/views/js/front/adyen-checkout-controller.js"
      "priority" => 80
      "attribute" => ""
      "server" => "remote"
    ]
    "27e5ba8465ba66c21c0a8ed5835ee4da37f6ca16" => array:7 [
      "id" => "27e5ba8465ba66c21c0a8ed5835ee4da37f6ca16"
      "type" => "external"
      "path" => "https://mexen.at/modules/adyenofficial/views/js/front/adyen-payment-additional-action.js"
      "uri" => "https://mexen.at/modules/adyenofficial/views/js/front/adyen-payment-additional-action.js"
      "priority" => 80
      "attribute" => ""
      "server" => "remote"
    ]
    "a21fd9c7406730ff77e15acac075218055320b50" => array:7 [
      "id" => "a21fd9c7406730ff77e15acac075218055320b50"
      "type" => "external"
      "path" => "https://mexen.at/modules/ph_simpleblog/js/jquery.fitvids.js"
      "uri" => "https://mexen.at/modules/ph_simpleblog/js/jquery.fitvids.js"
      "priority" => 80
      "attribute" => ""
      "server" => "remote"
    ]
    "a5b8d595764f33918a1d68bad830e9fe1c3a480a" => array:7 [
      "id" => "a5b8d595764f33918a1d68bad830e9fe1c3a480a"
      "type" => "external"
      "path" => "https://mexen.at/modules/ets_megamenu/views/js/megamenu.js"
      "uri" => "https://mexen.at/modules/ets_megamenu/views/js/megamenu.js"
      "priority" => 80
      "attribute" => ""
      "server" => "remote"
    ]
    "969f0bf4a5e0dc9f6f1aeb2c3ca213e8ff6904ce" => array:7 [
      "id" => "969f0bf4a5e0dc9f6f1aeb2c3ca213e8ff6904ce"
      "type" => "external"
      "path" => "https://mexen.at/modules/tpay/views/js/main.min.js"
      "uri" => "https://mexen.at/modules/tpay/views/js/main.min.js"
      "priority" => 80
      "attribute" => ""
      "server" => "remote"
    ]
    "2b7bddc05e8fec8fd1a70b08aab493ad7f1a8bc2" => array:7 [
      "id" => "2b7bddc05e8fec8fd1a70b08aab493ad7f1a8bc2"
      "type" => "external"
      "path" => "https://mexen.at/modules/tooltips/lib/tooltipster/js/tooltipster.bundle.min.js"
      "uri" => "https://mexen.at/modules/tooltips/lib/tooltipster/js/tooltipster.bundle.min.js"
      "priority" => 80
      "attribute" => ""
      "server" => "remote"
    ]
    "e15a7fd7011ef841ba8d874878596f8e26a1d814" => array:7 [
      "id" => "e15a7fd7011ef841ba8d874878596f8e26a1d814"
      "type" => "external"
      "path" => "https://mexen.at/modules/tooltips/views/js/tooltips.js"
      "uri" => "https://mexen.at/modules/tooltips/views/js/tooltips.js"
      "priority" => 80
      "attribute" => ""
      "server" => "remote"
    ]
    "2be523990f9410fbf1520b75a30699d34151451e" => array:7 [
      "id" => "2be523990f9410fbf1520b75a30699d34151451e"
      "type" => "external"
      "path" => "https://mexen.at/themes/falcon/modules/aapfree/views/aapfree.js"
      "uri" => "https://mexen.at/themes/falcon/modules/aapfree/views/aapfree.js"
      "priority" => 80
      "attribute" => ""
      "server" => "remote"
    ]
    "1c962c5d828e72fa6bb0fb91ea4a814d5e38104b" => array:7 [
      "id" => "1c962c5d828e72fa6bb0fb91ea4a814d5e38104b"
      "type" => "external"
      "path" => "https://mexen.at/modules/vatchecker/views/js/front.js"
      "uri" => "https://mexen.at/modules/vatchecker/views/js/front.js"
      "priority" => 80
      "attribute" => ""
      "server" => "remote"
    ]
    "6f9e05af0994ba3a7177b57ccea010aeef471bfb" => array:7 [
      "id" => "6f9e05af0994ba3a7177b57ccea010aeef471bfb"
      "type" => "external"
      "path" => "https://mexen.at/modules/ets_promotion/views/js/front.js"
      "uri" => "https://mexen.at/modules/ets_promotion/views/js/front.js"
      "priority" => 80
      "attribute" => ""
      "server" => "remote"
    ]
    "037601c9dbf5297e76b498c82c4992c4690a2080" => array:7 [
      "id" => "037601c9dbf5297e76b498c82c4992c4690a2080"
      "type" => "external"
      "path" => "https://mexen.at/modules/ets_promotion/views/js/jquery.countdown.min.js"
      "uri" => "https://mexen.at/modules/ets_promotion/views/js/jquery.countdown.min.js"
      "priority" => 80
      "attribute" => ""
      "server" => "remote"
    ]
    "5d49e842c3f848046f9f10a300f25a3b9629e0f4" => array:7 [
      "id" => "5d49e842c3f848046f9f10a300f25a3b9629e0f4"
      "type" => "external"
      "path" => "https://mexen.at/modules/ets_promotion/views/js/clock.js"
      "uri" => "https://mexen.at/modules/ets_promotion/views/js/clock.js"
      "priority" => 80
      "attribute" => ""
      "server" => "remote"
    ]
    "db14f557b8ddd01f23e1f839c9402405695c59fc" => array:7 [
      "id" => "db14f557b8ddd01f23e1f839c9402405695c59fc"
      "type" => "external"
      "path" => "https://mexen.at/modules/pixel_tiktoktracking/views/js/pixel_tiktoktracking.js"
      "uri" => "https://mexen.at/modules/pixel_tiktoktracking/views/js/pixel_tiktoktracking.js"
      "priority" => 80
      "attribute" => ""
      "server" => "remote"
    ]
    "cdff9867e8340c7b5dfcc82bb7185fec0c8a0fd7" => array:7 [
      "id" => "cdff9867e8340c7b5dfcc82bb7185fec0c8a0fd7"
      "type" => "external"
      "path" => "https://mexen.at/modules/pixel_producthistory/views/js/pixel_producthistory.js"
      "uri" => "https://mexen.at/modules/pixel_producthistory/views/js/pixel_producthistory.js"
      "priority" => 80
      "attribute" => ""
      "server" => "remote"
    ]
    "e7669587a88566d7c8a386864261ec5b8db60994" => array:7 [
      "id" => "e7669587a88566d7c8a386864261ec5b8db60994"
      "type" => "external"
      "path" => "https://mexen.at/modules/ets_reviews/views/js/slick.js"
      "uri" => "https://mexen.at/modules/ets_reviews/views/js/slick.js"
      "priority" => 80
      "attribute" => ""
      "server" => "remote"
    ]
    "ba02d6458d1f6d45a33b1781e1369b16a36bab45" => array:7 [
      "id" => "ba02d6458d1f6d45a33b1781e1369b16a36bab45"
      "type" => "external"
      "path" => "https://mexen.at/modules/ets_reviews/views/js/modal.js"
      "uri" => "https://mexen.at/modules/ets_reviews/views/js/modal.js"
      "priority" => 80
      "attribute" => ""
      "server" => "remote"
    ]
    "b408d6fdaf881f5b1a01145d4714be697a82d631" => array:7 [
      "id" => "b408d6fdaf881f5b1a01145d4714be697a82d631"
      "type" => "external"
      "path" => "https://mexen.at/js/jquery/plugins/growl/jquery.growl.js"
      "uri" => "https://mexen.at/js/jquery/plugins/growl/jquery.growl.js"
      "priority" => 80
      "attribute" => ""
      "server" => "remote"
    ]
    "6cfbb7387c3bd9764014a5efa581f87934e6eba1" => array:7 [
      "id" => "6cfbb7387c3bd9764014a5efa581f87934e6eba1"
      "type" => "external"
      "path" => "https://mexen.at/js/jquery/plugins/fancybox/jquery.fancybox.js"
      "uri" => "https://mexen.at/js/jquery/plugins/fancybox/jquery.fancybox.js"
      "priority" => 80
      "attribute" => ""
      "server" => "remote"
    ]
    "a0b748808474deddc7edabd7fb3cbec14a41c476" => array:7 [
      "id" => "a0b748808474deddc7edabd7fb3cbec14a41c476"
      "type" => "external"
      "path" => "https://mexen.at/modules/ets_reviews/views/js/jquery.rating.plugin.js"
      "uri" => "https://mexen.at/modules/ets_reviews/views/js/jquery.rating.plugin.js"
      "priority" => 80
      "attribute" => ""
      "server" => "remote"
    ]
    "bd3523585ace8158c0c2dc6c0251906acf6cc3a8" => array:7 [
      "id" => "bd3523585ace8158c0c2dc6c0251906acf6cc3a8"
      "type" => "external"
      "path" => "https://mexen.at/modules/ets_reviews/views/js/function.js"
      "uri" => "https://mexen.at/modules/ets_reviews/views/js/function.js"
      "priority" => 80
      "attribute" => ""
      "server" => "remote"
    ]
    "45e140e9169a5b17625bbab28424b9ef1a897320" => array:7 [
      "id" => "45e140e9169a5b17625bbab28424b9ef1a897320"
      "type" => "external"
      "path" => "https://mexen.at/modules/ets_reviews/views/js/list-comments.js"
      "uri" => "https://mexen.at/modules/ets_reviews/views/js/list-comments.js"
      "priority" => 80
      "attribute" => ""
      "server" => "remote"
    ]
    "68d1f8c1ff4c3641b607dd710bddcb2075addb8c" => array:7 [
      "id" => "68d1f8c1ff4c3641b607dd710bddcb2075addb8c"
      "type" => "external"
      "path" => "https://mexen.at/modules/ets_reviews/views/js/front.js"
      "uri" => "https://mexen.at/modules/ets_reviews/views/js/front.js"
      "priority" => 80
      "attribute" => ""
      "server" => "remote"
    ]
    "234fe24f2793c7599e27358b12abe700c56c7be4" => array:7 [
      "id" => "234fe24f2793c7599e27358b12abe700c56c7be4"
      "type" => "external"
      "path" => "https://mexen.at/modules/deliverycountdown/views/js/deliverycountdown.js"
      "uri" => "https://mexen.at/modules/deliverycountdown/views/js/deliverycountdown.js"
      "priority" => 80
      "attribute" => ""
      "server" => "remote"
    ]
    "module-cdproductcomparisonplusjquery-print" => array:7 [
      "id" => "module-cdproductcomparisonplusjquery-print"
      "type" => "external"
      "path" => "https://mexen.at/modules/cdproductcomparisonplus/views/js/jquery.print.js"
      "uri" => "https://mexen.at/modules/cdproductcomparisonplus/views/js/jquery.print.js"
      "priority" => 100
      "attribute" => ""
      "server" => "remote"
    ]
    "growl/jquery.growl.js" => array:7 [
      "id" => "growl/jquery.growl.js"
      "type" => "external"
      "path" => "https://mexen.at/js/jquery/plugins/growl/jquery.growl.js"
      "uri" => "https://mexen.at/js/jquery/plugins/growl/jquery.growl.js"
      "priority" => 100
      "attribute" => ""
      "server" => "remote"
    ]
    "fancybox/jquery.fancybox.js" => array:7 [
      "id" => "fancybox/jquery.fancybox.js"
      "type" => "external"
      "path" => "https://mexen.at/js/jquery/plugins/fancybox/jquery.fancybox.js"
      "uri" => "https://mexen.at/js/jquery/plugins/fancybox/jquery.fancybox.js"
      "priority" => 100
      "attribute" => ""
      "server" => "remote"
    ]
    "module-cdproductcomparisonplusfront" => array:7 [
      "id" => "module-cdproductcomparisonplusfront"
      "type" => "external"
      "path" => "https://mexen.at/modules/cdproductcomparisonplus/views/js/cdpcp-front.js"
      "uri" => "https://mexen.at/modules/cdproductcomparisonplus/views/js/cdpcp-front.js"
      "priority" => 102
      "attribute" => ""
      "server" => "remote"
    ]
    "modules-searchbar" => array:7 [
      "id" => "modules-searchbar"
      "type" => "external"
      "path" => "https://mexen.at/modules/ps_searchbar/ps_searchbar.js"
      "uri" => "https://mexen.at/modules/ps_searchbar/ps_searchbar.js"
      "priority" => 150
      "attribute" => ""
      "server" => "remote"
    ]
    "faqs_front" => array:7 [
      "id" => "faqs_front"
      "type" => "external"
      "path" => "https://mexen.at/modules/faqs/views/js/faq.js"
      "uri" => "https://mexen.at/modules/faqs/views/js/faq.js"
      "priority" => 150
      "attribute" => ""
      "server" => "remote"
    ]
    "faqs_form" => array:7 [
      "id" => "faqs_form"
      "type" => "external"
      "path" => "https://mexen.at/modules/faqs/views/js/faqs_form.js"
      "uri" => "https://mexen.at/modules/faqs/views/js/faqs_form.js"
      "priority" => 150
      "attribute" => ""
      "server" => "remote"
    ]
    "faqs_slick_js" => array:7 [
      "id" => "faqs_slick_js"
      "type" => "external"
      "path" => "https://mexen.at/modules/faqs/libraries/slick/slick.js"
      "uri" => "https://mexen.at/modules/faqs/libraries/slick/slick.js"
      "priority" => 150
      "attribute" => ""
      "server" => "remote"
    ]
    "modules-phsimpleblog" => array:7 [
      "id" => "modules-phsimpleblog"
      "type" => "external"
      "path" => "https://mexen.at/modules/ph_simpleblog/views/js/ph_simpleblog-17.js"
      "uri" => "https://mexen.at/modules/ph_simpleblog/views/js/ph_simpleblog-17.js"
      "priority" => 150
      "attribute" => ""
      "server" => "remote"
    ]
    "modules-phsimpleblog-masonry" => array:7 [
      "id" => "modules-phsimpleblog-masonry"
      "type" => "external"
      "path" => "https://mexen.at/modules/ph_simpleblog/js/masonry.pkgd.min.js"
      "uri" => "https://mexen.at/modules/ph_simpleblog/js/masonry.pkgd.min.js"
      "priority" => 150
      "attribute" => ""
      "server" => "remote"
    ]
    "module-pixel_tracking" => array:7 [
      "id" => "module-pixel_tracking"
      "type" => "external"
      "path" => "https://mexen.at/modules/pixel_tracking/views/js/pixel_tracking.js"
      "uri" => "https://mexen.at/modules/pixel_tracking/views/js/pixel_tracking.js"
      "priority" => 150
      "attribute" => ""
      "server" => "remote"
    ]
    "modules-x13favoriteproduct-toastify" => array:7 [
      "id" => "modules-x13favoriteproduct-toastify"
      "type" => "external"
      "path" => "https://mexen.at/modules/x13favoriteproduct/views/js/plugins/toastify.js"
      "uri" => "https://mexen.at/modules/x13favoriteproduct/views/js/plugins/toastify.js"
      "priority" => 150
      "attribute" => ""
      "server" => "remote"
    ]
    "modules-x13infobar-countdown" => array:7 [
      "id" => "modules-x13infobar-countdown"
      "type" => "external"
      "path" => "https://mexen.at/modules/x13infobar/views/js/countdown.js"
      "uri" => "https://mexen.at/modules/x13infobar/views/js/countdown.js"
      "priority" => 150
      "attribute" => ""
      "server" => "remote"
    ]
    "modules-x13infobar" => array:7 [
      "id" => "modules-x13infobar"
      "type" => "external"
      "path" => "https://mexen.at/modules/x13infobar/views/js/front.js"
      "uri" => "https://mexen.at/modules/x13infobar/views/js/front.js"
      "priority" => 150
      "attribute" => ""
      "server" => "remote"
    ]
    "modules-x13favoriteproduct" => array:7 [
      "id" => "modules-x13favoriteproduct"
      "type" => "external"
      "path" => "https://mexen.at/modules/x13favoriteproduct/views/js/front.js"
      "uri" => "https://mexen.at/modules/x13favoriteproduct/views/js/front.js"
      "priority" => 160
      "attribute" => ""
      "server" => "remote"
    ]
    "module-simattrs-js" => array:7 [
      "id" => "module-simattrs-js"
      "type" => "external"
      "path" => "https://mexen.at/modules/simattrs/simattrs.js"
      "uri" => "https://mexen.at/modules/simattrs/simattrs.js"
      "priority" => 200
      "attribute" => ""
      "server" => "remote"
    ]
    "theme-product" => array:7 [
      "id" => "theme-product"
      "type" => "external"
      "path" => "https://mexen.at/themes/falcon/assets/js/product.js"
      "uri" => "https://mexen.at/themes/falcon/assets/js/product.js"
      "priority" => 200
      "attribute" => ""
      "server" => "remote"
    ]
    "module-cdproductcomparisonplussharer" => array:7 [
      "id" => "module-cdproductcomparisonplussharer"
      "type" => "external"
      "path" => "https://mexen.at/modules/cdproductcomparisonplus/views/js/sharer.js"
      "uri" => "https://mexen.at/modules/cdproductcomparisonplus/views/js/sharer.js"
      "priority" => 200
      "attribute" => ""
      "server" => "remote"
    ]
    "theme-custom" => array:7 [
      "id" => "theme-custom"
      "type" => "external"
      "path" => "https://mexen.at"
      "uri" => "https://mexen.at"
      "priority" => 1000
      "attribute" => ""
      "server" => "remote"
    ]
  ]
  "inline" => []
]
Laden...