Mexen Riva WC-Schüssel Rimless Tornado, weiß glänzend - 3363XX00T

Mexen Riva WC-Schüssel Rimless Tornado, weiß glänzend - 3363XX00T

Mexen Riva WC-Schüssel Rimless Tornado, weiß glänzend - 3363XX00T
search
  • Mexen Riva WC-Schüssel Rimless Tornado, weiß glänzend - 3363XX00T
  • Mexen Riva WC-Schüssel Rimless Tornado, weiß glänzend - 3363XX00T
  • Mexen Riva WC-Schüssel Rimless Tornado, weiß glänzend - 3363XX00T
  • Mexen Riva WC-Schüssel Rimless Tornado, weiß glänzend - 3363XX00T
  • Mexen Riva WC-Schüssel Rimless Tornado, weiß glänzend - 3363XX00T
  • Mexen Riva WC-Schüssel Rimless Tornado, weiß glänzend - 3363XX00T
  • Mexen Riva WC-Schüssel Rimless Tornado, weiß glänzend - 3363XX00T
Mexen Riva WC-Schüssel Rimless Tornado, weiß glänzend - 3363XX00T
Mexen Riva WC-Schüssel Rimless Tornado, weiß glänzend - 3363XX00T Mexen Riva WC-Schüssel Rimless Tornado, weiß glänzend - 3363XX00T Mexen Riva WC-Schüssel Rimless Tornado, weiß glänzend - 3363XX00T Mexen Riva WC-Schüssel Rimless Tornado, weiß glänzend - 3363XX00T Mexen Riva WC-Schüssel Rimless Tornado, weiß glänzend - 3363XX00T Mexen Riva WC-Schüssel Rimless Tornado, weiß glänzend - 3363XX00T Mexen Riva WC-Schüssel Rimless Tornado, weiß glänzend - 3363XX00T
Keramik+ Keramik+
Randlos "Tornado" Randlos "Tornado"
Duroplast Duroplast
Marke:
Seria:
Ean:
5905315968715
Index:
3363XX00T
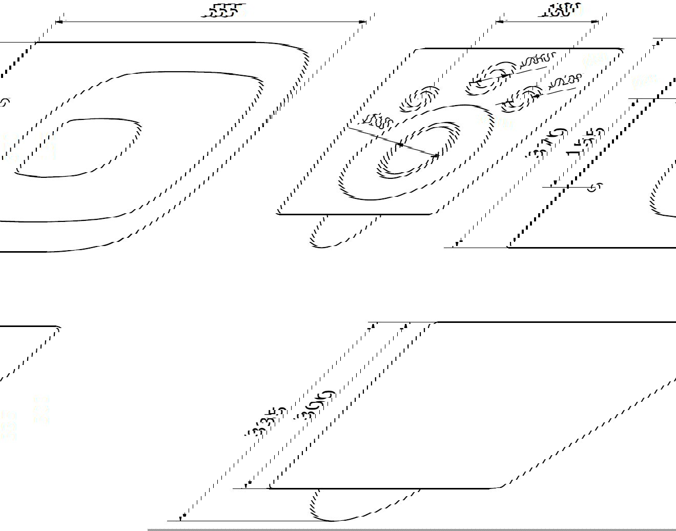
Breite:
37 cm
Montage:
Länge:
55,5 cm
Höhe:
33,5 cm

Mexen Riva WC-Schüssel Rimless Tornado, weiß glänzend - 3363XX00T

Produktspezifikation:

Größe: 55,5x37x33,5 cm

Montage: Hängend

Spülsystem: Rimless Tornado (randlos)

Farbe: Weiß glänzend

Material: Sanitärkeramik

Im Set enthalten: WC-Schüssel ohne Deckel

Innovative Lösungen, die in diesem Produkt verwendet werden

Keramik+

Das Produkt wurde aus Keramik von höchster Qualität hergestellt. Es zeichnet sich durch Beständigkeit gegen Rost, chemische Mittel und hohe hygienische Eigenschaften aus. Es ist nicht nur langlebig, sondern auch leicht sauber zu halten.

Randlos "Tornado"

Ein System, das sich durch das Fehlen eines traditionellen Randes (randlos) und ein spezifisches, spiralförmiges Spülsystem auszeichnet, das einem Wirbel ähnelt. Das Spülwasser erzeugt einen "Tornado"-Effekt, der die gesamte Schüsseloberfläche schnell und effektiv spült, was zu einer besseren Reinigung beiträgt und die Ablagerung von Schmutz verhindert.

Duroplast

Deski aus Duroplast zeichnen sich durch hohe Haltbarkeit und Widerstandsfähigkeit gegen Beschädigungen und täglichen Verschleiß aus. Die Verwendung von Duroplast ermöglicht eine unbeschwerte Nutzung und die Erhaltung der Ästhetik des Produkts über einen langen Zeitraum.

Sanft schließender Toilettensitz

Der sanft schließende Toilettensitz ist mit einem speziellen System ausgestattet, das ein schnelles und plötzliches Herunterfallen verhindert. Das System beseitigt effektiv das Problem des Zuschlagens und minimiert das Geräusch, was ein sanftes und leises Schließen der Toilette gewährleistet.

Leichtes Abnehmen

Das System zum leichten Abnehmen des Toilettensitzes erleichtert die perfekte Sauberkeit und hohe Hygiene in der Toilette. Dank ihm wird das regelmäßige Reinigen des Sitzes sowie der schwer zugänglichen Stellen darum herum viel einfacher und bequemer.

Dünn

Dünnes Brett mit einer außergewöhnlich ergonomischen Form und einem äußerst schlanken Aussehen. Die Konstruktion passt perfekt in moderne Badezimmer und vermittelt ein Gefühl von Leichtigkeit. Eine ausgezeichnete Wahl für minimalistische Arrangements.

Metallscharniere

Im Set befinden sich stabile Metallscharniere, die eine stabile Befestigung des Sitzes an der WC-Schüssel gewährleisten. Es ist eine praktische Lösung, die eine einfache Anpassung des Sitzes an die Form und Abmessungen der Toilette ermöglicht und Komfort bei der Nutzung bietet.

Installation mit Unterputzgestell

Die Verwendung eines Unterputzgestells zur Montage von Keramik ermöglicht deren Aufhängung. Auf diese Weise können wir nicht nur ein modernes Erscheinungsbild des Badezimmers erreichen, sondern auch den Raum vergrößern und die Reinigung erleichtern.

Verborgene Montage

Modernes System, bei dem alle Montageteile verborgen sind. Dies ist nicht nur ästhetisch, sondern auch eine sehr praktische Lösung. Es erleichtert die Sauberkeit im Badezimmer und sorgt für ein ordentliches Aussehen des Badezimmers.

Glanz

Keramik mit Glanz ist elegant und zeitlos. Sie verleiht dem Badezimmer einen besonderen Glanz, betont seine Ästhetik und bringt mehr Eleganz in den Raum. Der Glanz reflektiert das Licht und vermittelt dadurch ein Gefühl von Weite und Helligkeit.

UV-Schutz

Das Produkt zeichnet sich durch eine hohe Beständigkeit gegenüber Temperaturschwankungen und UV-Strahlung aus. Die Farbe verblasst und bleicht nicht unter dem Einfluss von Sonnenstrahlen aus, wodurch es lange Zeit sein Aussehen unabhängig von den Bedingungen bewahrt.

Beständigkeit gegen Mattierung

Die Oberfläche des Produkts ist beständig gegen Mattierung und behält ihren außergewöhnlichen Glanz über viele Jahre hinweg, vorausgesetzt, es wird ordnungsgemäß gepflegt. Regelmäßige Reinigung sorgt für ein ästhetisches Erscheinungsbild und die Langlebigkeit des Produkts.

PerfectClean

Das Produkt hat eine glatte Oberfläche, die mit ihrem Glanz begeistert und das ästhetische Aussehen unterstreicht. Die tägliche Pflege und Reinigung der Oberfläche von entstandenen Verschmutzungen ist viel einfacher und erfordert keine starken Reinigungsmittel.

2 Jahre Garantie

Das Produkt ist mit einer 2-jährigen Garantie abgedeckt. Bei Problemen mit dem gekauften Produkt empfehlen wir den Kontakt über das Kontaktformular oder telefonisch über die Hotline.

Serie
Länge
55,5 cm
Breite
37 cm
Höhe
33,5 cm
Farbe
Oberfläche
Glanz
Form
Im Set
WC-Schüssel ohne Sitz
Ohne Kragen
Ja
Montage
Schutzbeschichtung
Ja
Spülsystem
Randlos Tornado
Gebrauchsanweisung
Sicherheitsinformationen
Garantiebedingungen
Hersteller

Haben Sie die Antwort nicht gefunden?

Schreibe an uns

Mexen Riva WC-Schüssel Rimless Tornado, weiß glänzend - 3363XX00T

Mexen Riva WC-Schüssel Rimless Tornado, weiß glänzend - 3363XX00T

Katalogpreis: 160,30 €

128,29 € (inkl. MwSt.)

Billiger von 32,01 €

19,97%

Niedrigster Preis aus den letzten 30 Tagen: 128,29 €

Keramik+ Keramik+
Randlos "Tornado" Randlos "Tornado"
Duroplast Duroplast
Marke:
Seria:
Ean:
5905315968715
Index:
3363XX00T
Breite:
37 cm
Montage:
Länge:
55,5 cm
Höhe:
33,5 cm
Laden...